近日,中国核电(601985.SH)旗下子公司中核山东核能有限公司在山东进行投资扩张。
企查查信息显示,中核(山东)第二核能有限公司于11月10日注册成立,由中核山东核能有限公司全资控股,注册资本1亿元,注册地位于烟台海阳市,法定代表人洪源平。
经营范围包含:许可项目:发电业务、输电业务、供(配)电业务;热力生产和供应;建设工程施工;输电、供电、受电电力设施的安装、维修和试验等。一般项目:进出口代理;货物进出口;技术进出口;发电技术服务;海水淡化处理;核电设备成套及工程技术研发;工程和技术研究和试验发展;工程技术服务等。
中核山东核能有限公司成立于2021年9月,注册资本为55.7131亿元,法定代表人也是洪源平。
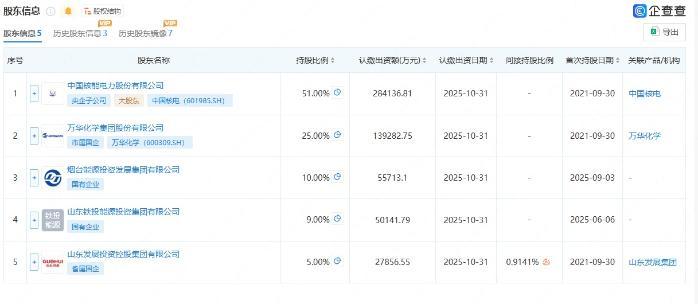
股权穿透显示,中国核电、万华化学(600309.SH)、烟台能源投资发展集团、山东铁投能源投资集团、山东发展投资控股集团分别持股51%、25%、10%、9%、5%。
中国核电2025年三季报显示,前三季度实现营业收入616.35亿元,同比增长8.16%;归属于上市公司股东的净利润为80.02亿元,同比下降10.42%。
